Product Summary
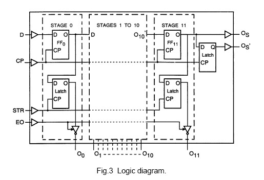
The HEF4894BT is a 12 stage serial shift register having a storage latch associated with each stage for strobing data from the serial input to parallel LED driver outputs O0 to
O11. Application areas of the HEF4894BT include Automotive, Industrial.
Parametrics
HEF4894BT absolute maximum ratings: (1)output voltage LOW: 5 VOL - 0.75 - 0.75 - 1.5 V ; (2)output leakage: 5 IOZH - 2 - 2 - 15 mA Vo = 15 V; (3)Dynamic power: 5V; (4)dissipation per package: 10V.
Features
HEF4894BT features: (1)Counters/dividers; (2)Registers; (3)Toggle flip-flops.
Diagrams

| Image | Part No | Mfg | Description | ![]() |
Pricing (USD) |
Quantity | ||||||||||||
|---|---|---|---|---|---|---|---|---|---|---|---|---|---|---|---|---|---|---|
![]() |
![]() HEF4894BT,112 |
![]() NXP Semiconductors |
![]() LED Lighting Drivers 12-ST SHIFT REGISTER |
![]() Data Sheet |
![]()
|
|
||||||||||||
![]() |
![]() HEF4894BT,118 |
![]() NXP Semiconductors |
![]() LED Lighting Drivers 12-STAGE SHIFT STORE REG/LED |
![]() Data Sheet |
![]()
|
|
||||||||||||
![]() |
![]() HEF4894BTT,112 |
![]() NXP Semiconductors |
![]() LED Lighting Drivers 12STAGE SHIFTSTORE |
![]() Data Sheet |
![]()
|
|
||||||||||||
![]() |
![]() HEF4894BTT,118 |
![]() NXP Semiconductors |
![]() LED Lighting Drivers 12STAGE SHIFTSTORE |
![]() Data Sheet |
![]()
|
|
||||||||||||
![]() |
![]() HEF4894BTT |
![]() NXP Semiconductors |
![]() Counter Shift Registers 12STAGE SHIFTSTORE REG LED DRV |
![]() Data Sheet |
![]() Negotiable |
|
||||||||||||
![]() |
![]() HEF4894BTD |
![]() NXP Semiconductors |
![]() Counter Shift Registers 12-ST SHIFT REGISTER W/ LED DRIVER |
![]() Data Sheet |
![]() Negotiable |
|
||||||||||||
![]() |
![]() HEF4894BTT-T |
![]() NXP Semiconductors |
![]() Counter Shift Registers 12STAGE SHIFTSTORE REG LED DRV |
![]() Data Sheet |
![]() Negotiable |
|
||||||||||||
(China (Mainland))










