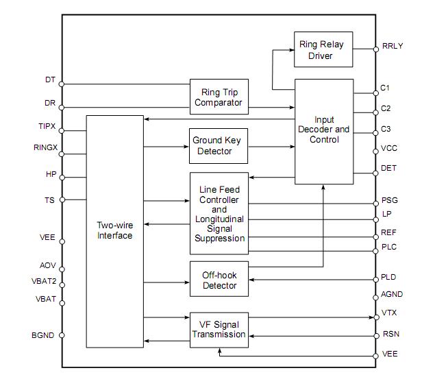
Product Summary
The PBL38610/2R2 Subscriber Line Interface Circuit (SLIC) is a 90 V bipolar integrated circuit for use in PBX, Terminal adapters and other telecommunications equipment. The PBL38610/2R2 has been optimized for low total line interface cost and a high degree of flexibility in different applications. The PBL38610/2R2 emulates a transformer equivalent dc-feed, programmable between 2x25 Ω and 2x900Ω , with short loop current limiting adjustable to max 65mA.
Parametrics
PBL38610/2R2 maximum ratings: (1) Storage temperature range Tstg: -55 to +150°C; (2) Operating temperature range TAmb: -40 to +110°C; (3) Operating Junction temperature range Tj: -40 to +140°C; (4) Vcc with respect to AGND, Vcc: -0.4 to 6.5V; (5) VEE with respect to AGND, VEE: VBat to 0.4V; (6) VBat with respect to BGND, continous, VBat: -75 to 0.4V; (7) VBat with respect to BGND, 10ms, VBat: -80 to 0.4V; (8) VBat2 with respect to A/BGND, VBat2: VBat to 0.4V.
Features
PBL38610/2R2 features: (1) Selectable overhead voltage principle;(2) High and low battery with automatic switching; (3) Battery supply as low as -10V; (4) Only +5V in addition to GND and battery (VEE optional); (5) 35 mW on-hook power dissipation in active state; (6) 44V open loop voltage @ -48 V battery feed; (7) On-hook transmission; (8) Ground key detector; (9) Analog temperature guard; (10) Integrated Ring Relay Driver.
Diagrams

(China (Mainland))






