Product Summary
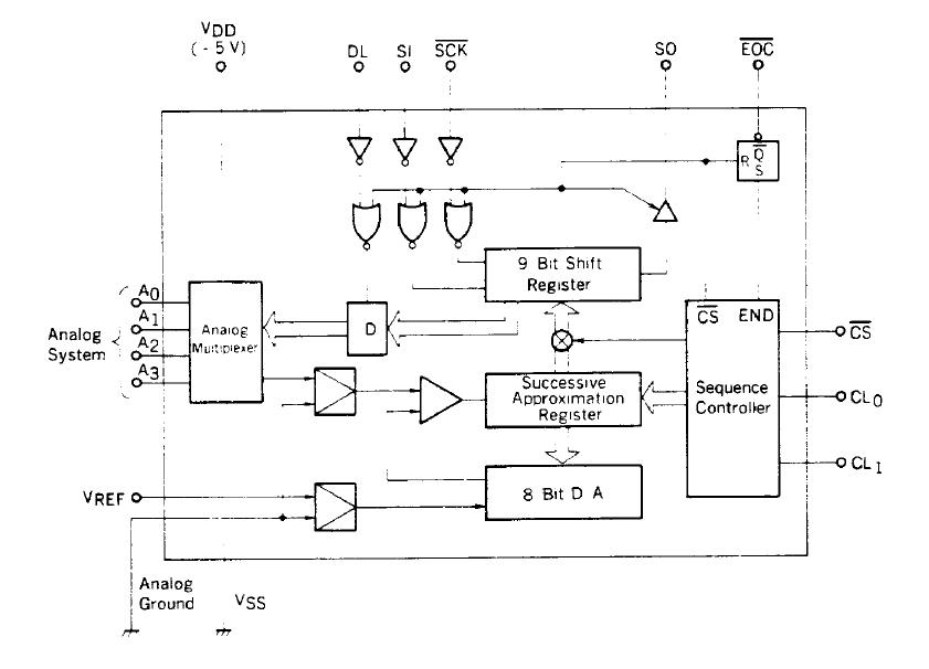
The UPD7001C is a high performance, low power 8-bit CMOS A/D converter which consists of a 4-channel analog multiplexer and a digital interface circuit for serial fata I/O. It uses successive approximation as a conversion technique. An A/D conversion system can be easily designed withe the UPD7001C including all circuits for A/D conversion. The UPD7001C can be directly connected to 8-bit or 4-bit microprocessors.
Parametrics
UPD7001C absolute maximum ratings: (1)Supply voltage, VDD: -0.3 to 7V; (2)Power dissipation, PT: 200mW; (3)Analog input voltage, VIA: -0.3 to VDD +0.3V; (4)Reference voltage, VREF: -0.3 to VDD +0.3V; (5)Digital input voltage, VDD2: 12V; (6)Operating temperature, Topr: 0 to 70℃; (7)Storage temperature, Tstg: -65 to 125℃.
Features
UPD7001C features: (1)Single chip A/D converter; (2)Resolution: 8-bit; (3)4-channel analog multiplexer; (4)Auto-zeroscale and auro-fullscale corrections without any external components; (5)Serial data transmission; (6)High input impedance: 1000mΩ; (7)Single +5V power supply; (8)Low power operation; (9)Available in 16-pin plastic DIP; (10)Conversion speed: 140μs typ; (11)Linearity: 0.8%.
Diagrams

(China (Mainland))






