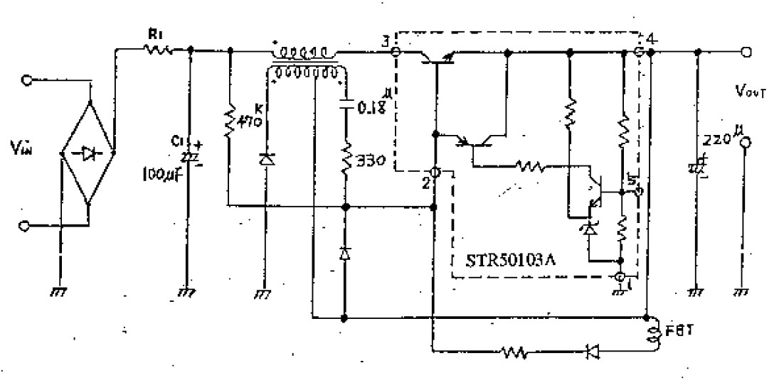
Product Summary
The str50103a is a Voltage regulator.
Parametrics
str50103a absolute maximum ratings: (1)VCEX: 900V; (2)IC: 6A; (3)PD: 27W(Tc=100℃); (4)TOP: -20 to +125℃; (5)Tstg: -30 to +125℃; (6)Tj: +150℃; (7)Io: 0.8A.
Features
str50103a electrical characteristics: (1)Vo: 103.4±1V; (2)VCE(sat): 1.0V MAX; (3)hFE: MIN=10, MAX=30; (4)ICEX: 1.0mA MAX; (5)IEBO: 1.5V MAX; (6)θj-c: 1.8℃/W.
Diagrams

![]() |
![]() STR59041 |
![]() Other |
![]() |
![]() Data Sheet |
![]() Negotiable |
|
||||
(China (Mainland))








